+7 (499) 702-01-13
+7 (499) 702-03-59
Пн-Пт с 9:00 до 18:00
Поиск бренда
Поиск модели
Каталог схем
MASTER
Инструменты
Климатическое оборудование
Пушки тепловые дизельные
B 150 CEA
Схема MASTER B 150 CEA
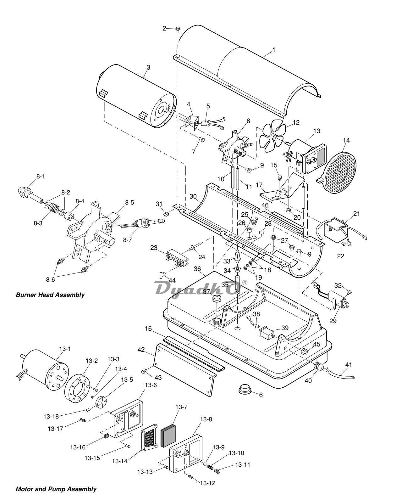
1
Upper Shell
2
Screw/Lockwasher, 1/2“
3
Combustion Chamber
4
Photocell Bracket
5
Photocell Assembly
6
Drain Plug
7
Screw, #6-32 x 3/8'
8
Burner Head Assembly
8-1
Nozzle
8-2
Nozzle Seal Washer
8-3
Nozzle Seal Spring
8-4
Nozzle Seal Sleeve
8-5
Burner Head Body
8-6
Barb Fitting
8-7
Spark Plug
9
Screw/Lockwasher, 1/2“
10
Air Line
11
Fuel Line
12
Fan
13
Motor and Pump Assembly
13-1
Motor with capacitor
13-2
Pump Body
13-3
Screw, #10-32 x 5/8“
13-4
Insert
13-5
Rotor
13-6
End Pump Cover
13-7
Intake Filter
13-8
End Cover
13-9
Steel Ball (1/4“ Dia.)
13-10
Pressure Relief Spring
13-11
Adjusting Screw
13-12
Plug
13-13
Screw, #10-32 x 1‘
13-14
Output Filter
13-15
Screw, #10-32 x 1 1/8“
13-16
Lint Filter
13-17
Barb Fitting
13-18
Blade
14
Fan Guard
15
Rubber Bumper
16
Edge Liner
17
Motor Bracket
18
Lock Washer, #10
19
Nut, #10-32
20
Hex locknut
21
Electronic Ignitor
22
Screw, #10-16 x 3/4’
23
Terminal Board
24
Rivet
25
Bushing
26
Bushing
27
Bushing
28
Button Plug
29
Power Line RFI Filter
30
Lower Shell
31
Clip Nut
32
Screw, #10-32 x 3/4’
33
Fuel filter
34
Rubber Bushing
35
Fuel Line
36
Fuel Tank
37
Fuel Tank Cap
38
Wire Assembly (red)
39
Flame-Out Control
40
Strain Relief Bushing
41
Power Cord
42
Side Cover
43
Screw Hex Head
44
Terminal Board Tab Cap
45
Hex Nut
_
PARTS AVAILABLE - NOT SHOWN
_
Filler Neck Screen
_
Tradename Decal
_
Combustion Chamber Ground Wire
_
Decal Package