+7 (499) 702-01-13
+7 (499) 702-03-59
Пн-Пт с 9:00 до 18:00
Поиск бренда
Поиск модели
Каталог схем
ECHO
Инструменты
Садовая техника
Триммеры бензиновые
SRM-22GES-SB
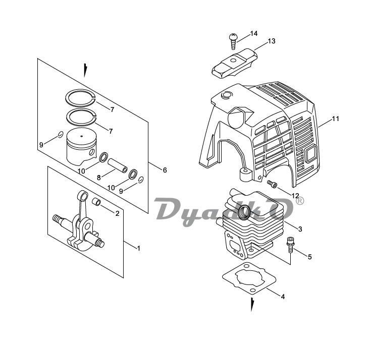
Схема ECHO SRM-22GES-SB CYLINDER, PISTON, CRANKSHAFT
1
CRANKSHAFT,ASY
2
BEARING,NEEDLE 8 HK0810
3
CYLINDER 32.2 4T
4
GASKET, CYL. BASE
5
BOLT, H.S. 5*22 5*22 W,SW
6
PISTON KIT
7
RING,PISTON
8
PIN, PISTON
9
CIRCLIP, PISTON PIN
10
WASHER,CIRCULAR 8 8.2*13*0.8
11
COVER,CYLINDER
12
BOLT, TORX 4 TB-4*16 10.9
13
GUARD,TOP
14
SCREW 5*20 5*20