+7 (499) 702-01-13
+7 (499) 702-03-59
Пн-Пт с 9:00 до 18:00
Поиск бренда
Поиск модели
Каталог схем
КАЛИБР
Инструменты
Электроинструмент
Фрезеры
ФЭ-1300/8М+ (YD, SW)
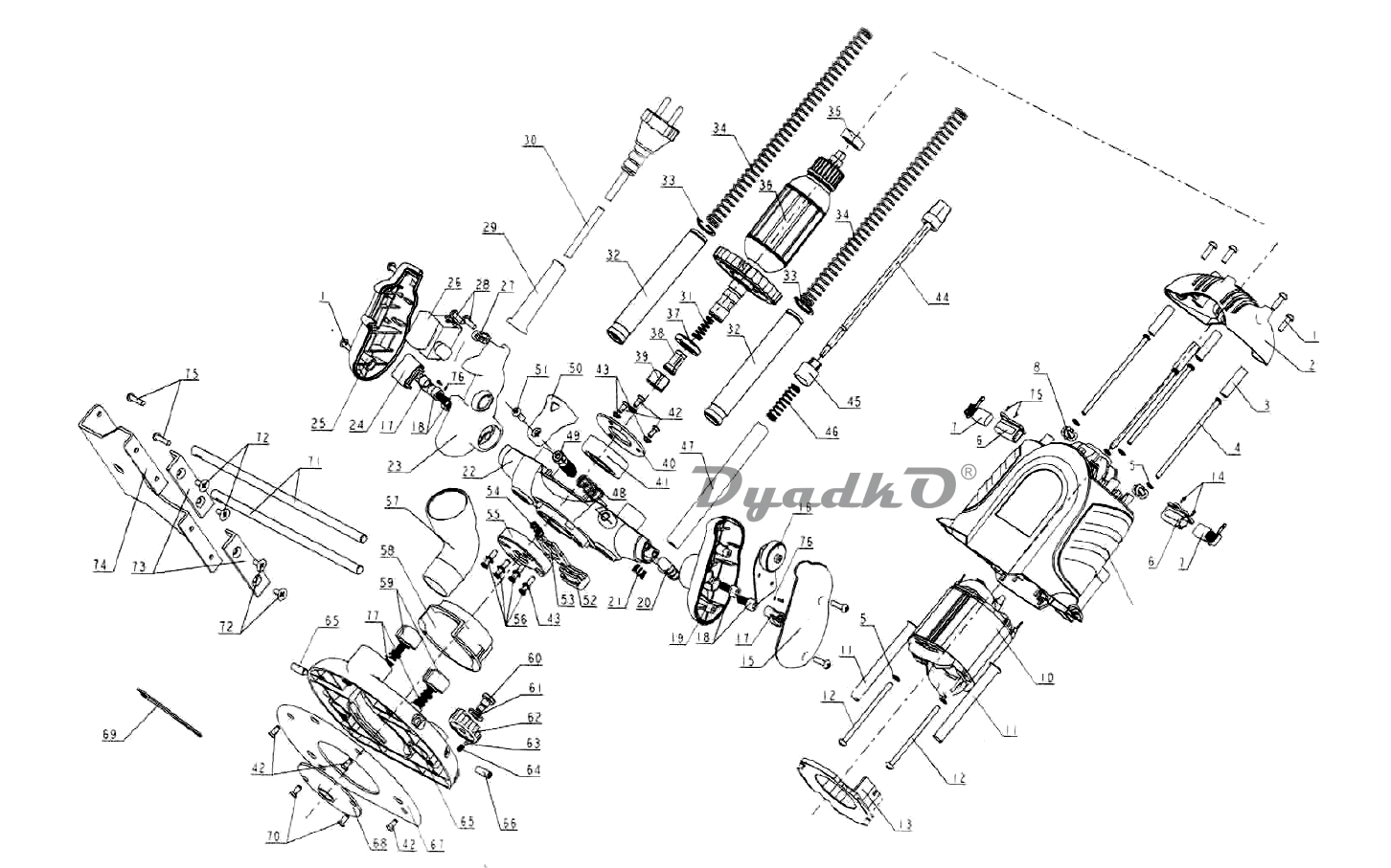
Схема КАЛИБР ФЭ-1300/8М+ (YD, SW) ФЭ-1300/8М+ (YD)
1
Винт ST4,2xi6
2
Крышка верхняя
3
Втулка изолирующая
4
Винт М4*85
5
Шайба 4
6
Щёткодержатель
7
Щётка №132
8
Индуктивность фильтра радиопомех
9
Корпус
10
Статор
11
Стойка пружины
12
Винт ST4,2*70
13
Кольцо воздухонаправляющее
14
Винт ST2,9xlO
15
Крышка рукоятки левой
16
Регулятор оборотов
17
Гайка винтовая
18
Винт Мб*12
19
Рукоятка левая
20
Винт с ручкой фиксирующий 1
21
Пружина фиксатора 1
22
Суппорт
23
Рукоятка правая
24
Конденсатор фильтра радиопомех 0,22 мкФ
25
Крышка рукоятки правой
26
Выключатель FA2-8/2BD
27
Прижим кабеля
28
Винт ST4,2*12
29
Бандаж кабеля резиновый
30
Кабель питания 2* 1,0мм2 с вилкой
31
Пружина цанги
32
Трубка направляющая
33
Кольцо стопорное 14 (нар.)
34
Пружина стойки направляющей
35
Подшипник 608Z
36
Якорь
37
Гайка фиксирующддщя
38
Цанга 6мм
38
Цанга 8мм
39
Гайка цанги
40
Крышка подшипника
41
Подшипник 6202RS
42
Винт М4*8 с потайной головкой
43
Шайба конусная
44
Ось регулировочная
45
Шкала точная
46
Пружина
47
Линейка
48
Пружина фиксатора вертикального перемещения
49
Винт фиксатора вертикального перемещения
50
Рычаг фиксатора вертикального перемещения
51
Винт М5*Ю
52
Кнопка фиксатора шпинделя
53
Пластина фиксатора шпинделя
54
Пружина фиксатора шпинделя
55
Крышка передняя
56
Винт М4х18 с потайной головкой
57
Патрубок пылеотвода
58
Крышка защитная прозрачная
59
Винт с ручкой фиксирующий 2
60
Винт установочный
61
Шайба
62
Упор ступенчатый
63
Шарик стальной 05
64
Пружина 04х 11 *00,8
65
Основание
66
Винт установочный Мб* 16
67
Подошва пластмассовая
68
Диск направляющий
69
Ключ
70
Винт М4*10 с потайной головкой
71
Направляющая упора параллельного
72
Винт М4*6 с потайной головкой
73
Уголок соединительный
74
Упор параллельный
75
ВинтМ5*12
76
Шайба 3
77
Пружина фиксатора 2