+7 (499) 702-01-13
+7 (499) 702-03-59
Пн-Пт с 9:00 до 18:00
Поиск бренда
Поиск модели
Каталог схем
HUSQVARNA
Инструменты
Садовая техника
Пилы цепные бензиновые
440e II
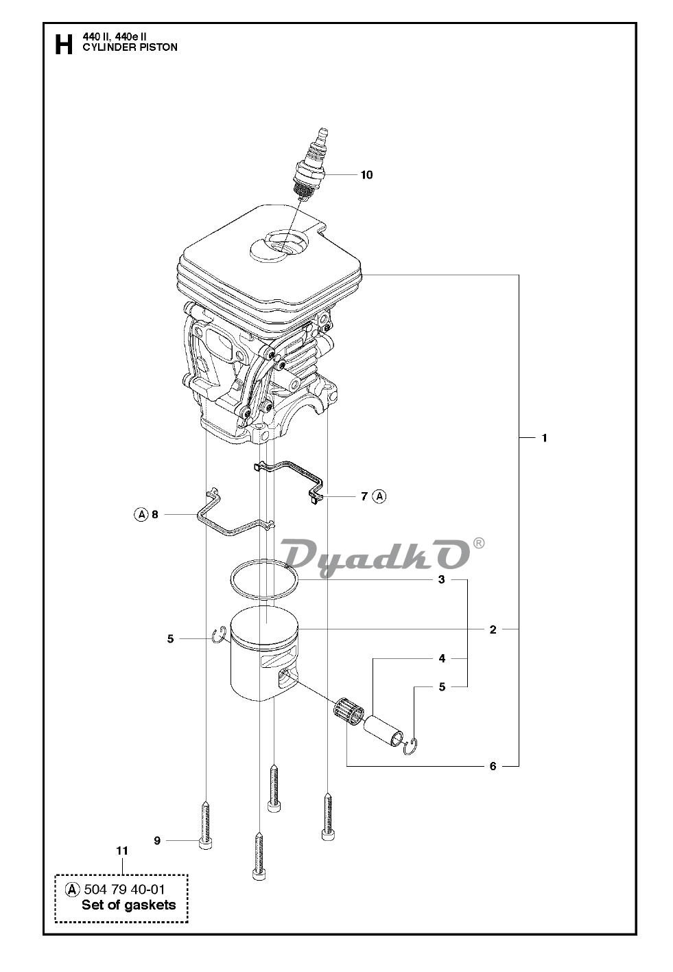
Схема HUSQVARNA 440e II CYLINDER PISTON
1
Цилиндр
2
Поршень с двумя кольцами
3
Кольцо поршневое
4
PISTON PIN
5
SNAP RING
6
Подшипник
7
Прокладка
8
Прокладка
9
SCREW IHSCM
10
Свеча зажигания NGKBPMR7A
11
Прокладка