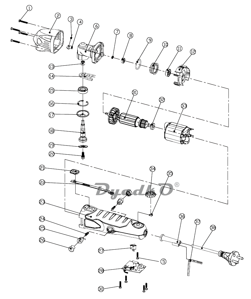
| 2 | корпус редуктора |
| 3 | индикатор света |
| 4 | держатель индикатора |
| 6 | редуктор |
| 7 | стопор |
| 8 | подшипник 625 |
| 9 | кольцо |
| 10 | держатель подшипника |
| 11 | подшипник 608 |
| 12 | вставка |
| 13 | подшипник HK0709 |
| 14 | вилка |
| 15 | подшипник 6001 |
| 16 | стопор |
| 17 | кольцо |
| 18 | вал |
| 19 | фланец |
| 20 | винт |
| 21 | кнопка выключателя |
| 22 | тяга выключателя |
| 23 | корпус |
| 24 | угольная щетка |
| 25 | щеткодержатель |
| 26 | заглушка |
| 27,28 | выключатель с платой |
| 31 | ротор |
| 32 | подшипник 607 |
| 33 | статор |
| 34 | регулятор |
| 35 | стопор |
| 36 | воротник шнура |
| 37 | ключ |
| 38 | сетевой шнур |