+7 (499) 702-01-13
+7 (499) 702-03-59
Пн-Пт с 9:00 до 18:00
Поиск бренда
Поиск модели
Каталог схем
ДИОЛД
Инструменты
Электроинструмент
Лобзики
ПЛЭ-1-02
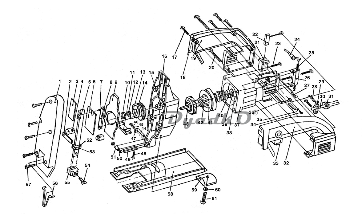
Схема ДИОЛД ПЛЭ-1-02
1
Корпус
2
Пружина пластинчатая
3
Пластина
4
Направляющая
5
Ползун
6
Пластина дистанционная
7
Ролик
8
Шатун
9
Ползун уравновешивающий
10
Кольцо
11
Пластина
12
Шайба
13
Колесо приводное
14
Ролик
15
Кольцо дистанционное
16
Корпус редуктора в сборе
17
Винт саморез
18
Гайка закладная
19
Полуручка правая
20
Винт саморез
21
Обойма
22
Щетка
23
Винт
24
Коромысло
25
Пружина
26
Втулка
27
Оська
28
Винт саморез
29
Пластина
30
Шнур армированный
31
Трубка защитная
32
Полуручка левая
33
Выключатель
34
Винт
35
Шайба
36
Скоба
37
Корпус электродвигателя
38
Статор
39
Компенсатор
40
Подшипник
41
Диафрагма
42
Якорь
43
Подшипник
44
Ось
45
Шайба
46
Винт
47
Шайба
48
Винт
49
Ролик
50
Шайба
51
Ролик
52
Прокладка
53
Сальник
54
Винт специальный
55
Обойма зажимная
56
Ограждение
57
Винт
58
Лыжа
59
Шайба специальная
60
Шайба
61
Винт
В сборе:
_
ПЛЭ-1-02 / 03 / 04 Гайка закладная 431.001 (п.18 // 21)
_
ПЛЭ-1-02 / 03 / 04 Винт специальный 100.001 (п.54 // 66)
_
ПЛЭ-1-02 / 03 / 04 Винт специальный 612.001 (лыжи)
_
ПЛЭ-1-02 / 03 / 04 Втулка 313.001 (п.26 // 30)
_
ПЛЭ-1-02 / 03 / 04 Втулка ЛП 2 (в колесо прив.)
_
ПЛЭ-1-02 / 03 / 04 Выключатель БУЭ 1М (п.33 // 37)
_
ПЛЭ-1-02 / 03 / 04 Диафрагма 464.001 (п.41 // 45)
_
ПЛЭ-1-02 / 03 / 04 Кольцо дистанционное 141.001 (п.15 // п.17)
_
ПЛЭ-1-02 / 03 / 04 Компенсатор 611.001 (п.39 // п.43)
_
ПЛЭ-1-02 / 03 / 04 Коромысло 222.001 (п.24 // п.28)
_
ПЛЭ-1-02 / 03 Корпус электродвигателя 184.004 (п.37 / п.41)
_
ПЛЭ-1-02 / 03 / 04 Линейка в сб. 134.004
_
ПЛЭ-1-02 / 03 / 04 Лыжа 136.010 (п.58 // п.63)
_
ПЛЭ-1-02 / 03 / 04 Обойма зажимная 584.005 (п.55 // п.67)
_
ПЛЭ-1-02 / 03 / 04 Обойма 541.001 (п.21// п.26)
_
ПЛЭ-1-02 / 03 / 04 Ограждение 321.002 (п.56 // п.68)
_
ПЛЭ-1-02 / 03 / 04 Оська 311.002 (п.27 // п.31)
_
ПЛЭ-1-02 / 03 / 04 Пластина 434.001 (п.29 // п.33)
_
ПЛЭ-1-02 / 03 / 04 Полуручка лев. 784.001 (п.32 // п.36)
_
ПЛЭ-1-02 / 03 / 04 Полуручка прав. 784.002 (п.19 // п.22)
_
ПЛЭ-1-02 / 03 / 04 Прокладка 126.003 (п.52 // п.64)
_
ПЛЭ-1-02 / 03 / 04 Пружина 512.001-01 (п.25 // п.29)
_
ПЛЭ-1-02 Редуктор пилы в сборе (п.1-16,44-53,57)
_
ПЛЭ-1-02 / 03 / 04 Ролик 114.001 (п.49 // п.55)
_
ПЛЭ-1-02 / 03 / 04 Сальник 126.002 (п.53 // п.65)
_
ПЛЭ-1-02 / 03 / 04 Скоба 641.001 (п.36 // п.40)
_
ПЛЭ-1-02 / 03 Статор 212.002 (п.38 / п.42)
_
ПЛЭ-1-02 / 03 / 04 Трубка защитная 151.001 (п.31 // п.35)
_
ПЛЭ-1-02 / 03 / 04 Шайба 141.003(002) (п.12)
_
ПЛЭ-1-02 / 03 / 04 Шайба фиксирующая 5.65 Г (п.45 // п.49)
_
ПЛЭ-1-02 / 03 / 04 Шайба специальная 498.002 (п.59 // п.62)
_
ПЛЭ-1-02 / 03 / 04 Электрощетка Г33 (п.22 // п.25)
_
ПЛЭ-1-02 / 03 / 04 Электрошнур ПВС 2*0,75 (п.30 // п.34)
_
ПЛЭ-1-02 / 03 Якорь 263.010 (п.42 / п.46)